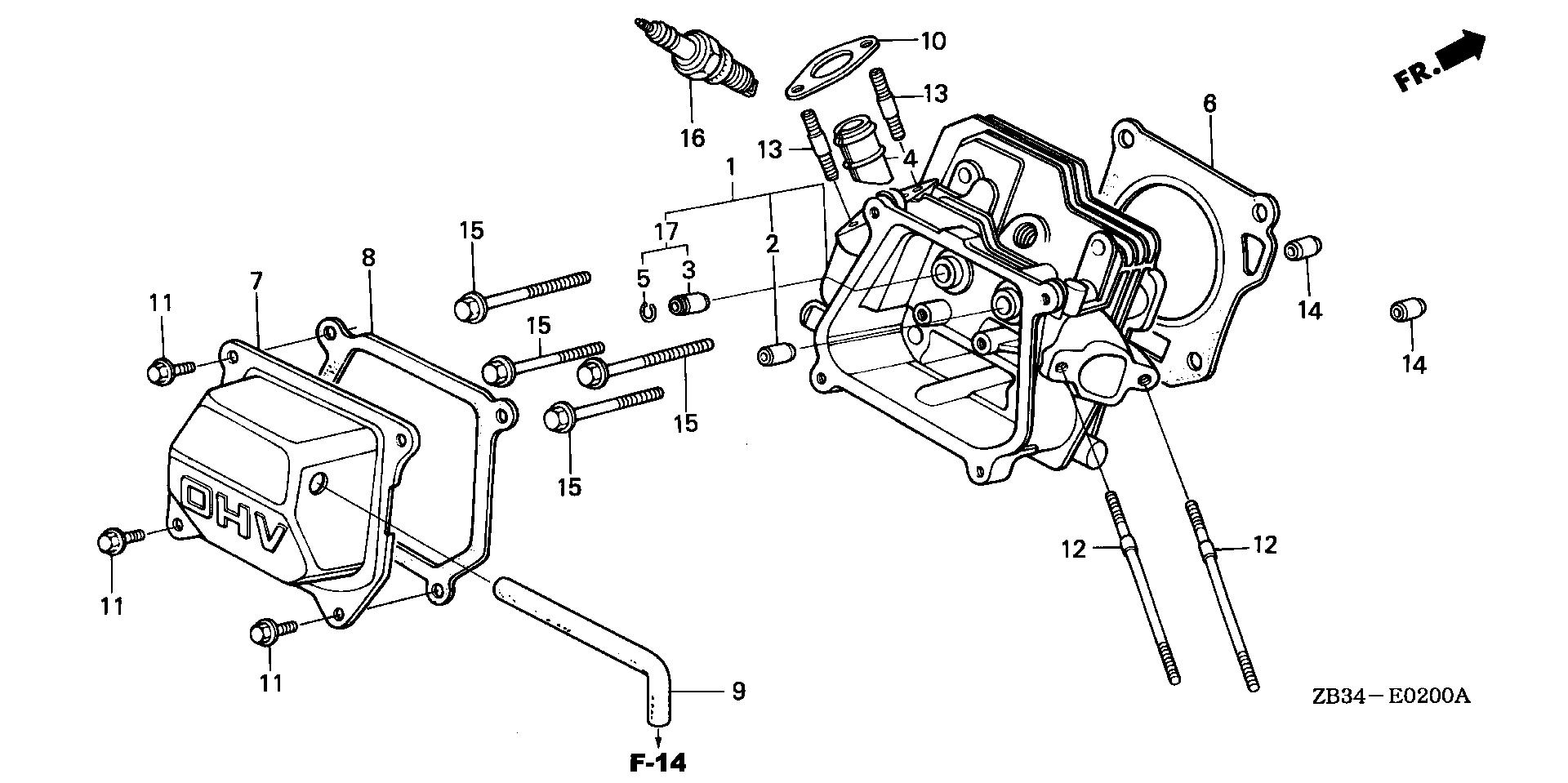
Generators EM EM2500 EM2500XK1 A/B EZCN-1036739-1109999 CYLINDER HEAD - Yoder's Small Engines

Ref No
Part Number
Description
Serial Range
Qty
Price

Ref No
1
Part Number
12210-ZH8-415
Description
CYLINDER HEAD
Serial Range
1000001 - 9999999
Qty
Price
$164.68

Ref No
2
Part Number
12204-ZE1-306
Description
GUIDE, VALVE (OVER SIZE) (NOT AVAILABLE)
Serial Range
2401553 - 9999999

Ref No
5
Part Number
12216-ZE5-300
Description
CLIP, VALVE GUIDE
Serial Range
1369813 - 9999999
Qty
Price
$3.65

Ref No
6
Part Number
12251-ZF1-800
Description
GASKET, CYLINDER HEAD
Serial Range
1000001 - 9999999

Ref No
6
Part Number
12251-ZF1-801
Description
GASKET, CYLINDER HEAD
Serial Range
1000001 - 9999999
Qty
Price
$21.21

Ref No
7
Part Number
12310-ZE1-020
Description
COVER, HEAD
Serial Range
1000001 - 9999999
Qty
Price
$21.41

Ref No
8
Part Number
12391-ZE1-000
Description
GASKET, HEAD COVER
Serial Range
1000001 - 9999999

Ref No
9
Part Number
15721-883-030
Description
TUBE, BREATHER
Serial Range
1000001 - 9999999
Qty
Price
$8.96

Ref No
11
Part Number
90013-883-000
Description
BOLT, FLANGE (6X12) (CT200)
Serial Range
1000001 - 1049824

Ref No
12
Part Number
90043-ZB2-003
Description
BOLT, STUD (6X94)
Serial Range
1472705 - 9999999
Qty
Price
$9.21

Ref No
13
Part Number
90047-ZE1-000
Description
BOLT, STUD (8X32)
Serial Range
1206240 - 9999999
Qty
Price
$7.18

Ref No
14
Part Number
94301-10160
Description
PIN, DOWEL (10X16)
Serial Range
1000001 - 9999999
Qty
Price
$4.99

Ref No
15
Part Number
95723-08060-00
Description
BOLT, FLANGE (8X60)
Serial Range
1000001 - 9999999
Qty
Price
$4.91

Ref No
16
Part Number
98079-56846
Description
SPARK PLUG (BPR6ES) (NGK)
Serial Range
1000001 - 9999999
Qty
Price
$4.80

Ref No
16
Part Number
98079-56855
Description
SPARK PLUG (W20EPR-U) (DENSO)
Serial Range
1000001 - 9999999
Qty
Price
$5.15