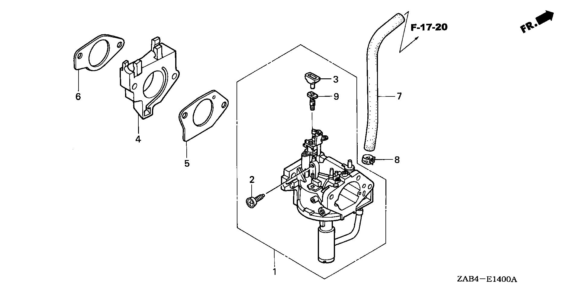
Generators EM EM6000 EM6000GP A EZGR-1000001-1009999 CARBURETOR - Yoder's Small Engines

Ref No
Part Number
Description
Serial Range
Qty
Price

Ref No
1
Part Number
16100-ZF6-F11
Description
CARBURETOR ASSY. (BEL5D A) (NOT AVAILABLE)
Serial Range
1000001 - 9999999

Ref No
2
Part Number
16124-ZE0-005
Description
SCREW, THROTTLE STOP
Serial Range
1000001 - 9999999
Qty
Price
$19.67

Ref No
3
Part Number
16172-ZE3-W10
Description
COLLAR, SETTING
Serial Range
1000001 - 9999999
Qty
Price
$12.26

Ref No
4
Part Number
16211-ZF6-000
Description
INSULATOR, CARBURETOR
Serial Range
1000001 - 9999999
Qty
Price
$22.38

Ref No
5
Part Number
16221-ZF6-800
Description
GASKET, CARBURETOR
Serial Range
1000001 - 9999999

Ref No
6
Part Number
16223-ZE3-W00
Description
GASKET, INSULATOR
Serial Range
1000001 - 9999999
Qty
Price
$4.12

Ref No
7
Part Number
16347-ZF6-F10
Description
HOSE, FUEL (B) (NOT AVAILABLE)
Serial Range
1000001 - 9999999

Ref No
8
Part Number
90678-MN5-000
Description
CLIP, FUEL HOSE
Serial Range
1000001 - 9999999
Qty
Price
$5.51

Ref No
9
Part Number
99204-ZE2-0450
Description
JET SET, PILOT (#45)
Serial Range
1000001 - 9999999
Qty
Price
$17.20